Зарегистрируйтесь и о Вас узнают потенциальные клиенты!

Штуцер дискретный фланцевый ШДФ 12М

До: 26.12.2022

Штуцер дискретный фланцевый ШДФ 12М

Рубрика: Промышленные товары

Описание

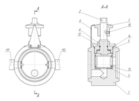
Штуцер дискретный фланцевый ШДФ 12М устанавливается в фонтанной арматуре за линейной задвижкой. Рабочая среда нефть, вода и газ. Рабочее давление 21 Мпа. Условный регулирующий размер 0; 2; 2,5; 3; 3,5; 4; 4,5; 5; 6; 8; 10; 12. Рабочая температура окружающей среды от -60°С до +40°С. Точность калибровки отверстий ±0,01 мм. Управление штуцером ручное  Регулируемый орган-цилиндр. Габаритные размеры, без учёта выводов для манометров, 232,5х125х93мм.  Масса, не более 7,7 кг. Штуцер ШДФ 12М состоит из корпуса 1, в котором находится цилиндр с калиброванными отверстиями, вала привода цилиндра 2. Уплотнение цилиндра осуществляется резиновыми кольцами 12 и 13. Указатель 9 показывает на лимбе 7 расположение отверстий цилиндра и направление движения среды.

Поставщик

Организация: НПП Обуховская промышленная компания
Телефон: +7 (831) 295-50-61
Адрес:

Ваша компания

Зарегистрируйтесь и о Вас узнают потенциальные клиенты!
Cообщить о неточности
Карта сайта →
Финансы
Разделили бизнес, а налоговая попыталась сложить его обратно
Банки
Лизинг
Инвестиции
Страхование
Господдержка
Помощь бизнесу
1. Открыть бизнес
2. Выбор помещения
3. Эффективная реклама
4. Подбор аутсорсинга
5. Господдержка
6. Уплата налогов
7. Поиск кадров
8. Юридическая помощь
Организации
Добавить свою
Новости компаний
Товары и услуги
Добавить товар
Добавить услугу
Тендеры
Обучение
Центры проф. обучения
Новости
О портале
Возможности сайта
Реклама на сайте
Контактная информация
Ваш кабинет
Зарегистрируйтесь и о Вас узнают потенциальные клиенты!
© 2009—2026  Единый республиканский бизнес-портал
О портале | Контактная информация | Реклама на портале | Правила пользования |
Сделано в «Техинформ» Уфа
Информация на сайте не является публичной офертой